
SLSA Surf Reel Notes:
- The surf reels used in the U12 to U13 age (but not U13 – U15 combined age) R&R competition and the U14 and under March Past (but not U13 – U15 combined age) March Past competition may be reduced to approximately 75% of the dimensions outlined in this specification. Such reels should be branded in minimum 25mm letters “Demonstration Use Only”.
- Full sized reels are to be used in U15 and over March Past and U14 and over R&R competition.
- For March Past and the non-swimming 5 Person R&R event where it is permitted to use a reel equipped with less than the full length surf line, the internal diameter of the drum may be increased, or an insert used provided that the reel is branded in minimum 25mm letters “Demonstration Use Only”.
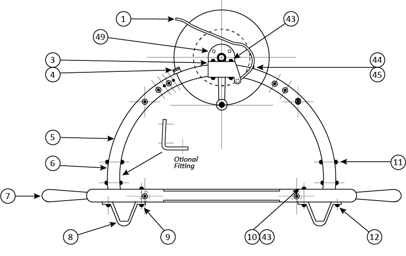
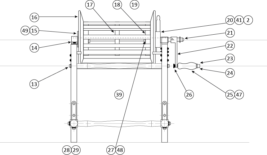
Surf Reel Construction
Surf Reel Line Specifications
- Laid cotton (may be waxed), braided synthetic, or other construction approved by SLSA
- Minimum length: 250m (suggested 420m)
- Minimum Diameter: 6.00 mm (cleared of excess wax, etc.)
- Minimum Breaking Strain (at time of manufacture): 273kg
- For March Past and U15 and under R&R it is permitted to use a reel equipped with less than the full length surf line. Where such equipment is used the reel must be branded in minimum 25mm letters “Demonstration Use Only”.

Modified South African Release Belt Construction
“Fineprint” Surf Belt
Note 1: Surf Belts attached to Junior Reels may be approximately 75% of the specifications detailed in this Appendix.
Note 2: Upon application to SLSA other surf belts may be separately approved for use.
Commonly Used Knots
The Clove Hitch (Fig 1) is used for making a rope fast to a bar or ring. With one or two half-hitches
(Fig 2) it is the knot to be used for joining a surf line to a belt and should also be used for making a rope fast to the eye of an anchor.
The Reef Knot
(Fig 3) is not generally suitable for surf work, except First Aid Bandaging.
The Bowline
(Fig 4) is used for making a loop that will not slip.
The Fisherman’s Knot
(Fig 5) this knot is used when joining two surf lines together. Make a simple knot on one rope, with the end of the other rope, and then tie a similar knot on the first rope, with the second rope. Pull the standing parts and the knots will remain fast.










